L4973
Active
Design Win
3.5 A开关稳压器

Download datasheet Order Direct

Product overview

描述

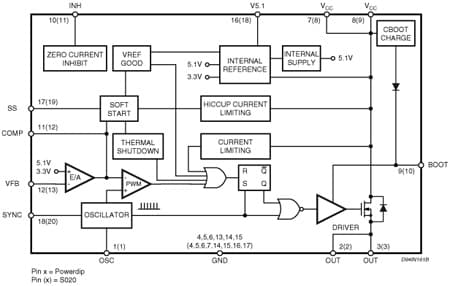
The L4973 is a step down monolithic power switching regulator delivering 3.5A at fixed voltages of 3.3V or 5.1V and using a simple external divider output adjustable voltage up to 50V. Realized in BCD mixed technology, the device uses an internal power D-MOS transistor (with a typical RDS(on) of 0.15Ω) to obtain very high efficiency and very fast switching times. Switching frequency up to 300KHz are achievable (the maximum power dissipation of the packages must be observed).

A wide input voltage range between 8V to 55V and output voltages regulated from 3.3V to 40V cover the majority of the today applications. Features of this new generation of DC-DC converter includes pulse by pulse current limit, hiccup mode for output short circuit protection, voltage feed forward regulation, soft start, input/output synchronization, protection against feedback loop disconnection, inhibit for zero current consumption and thermal shutdown. Packages available are in plastic dual in line, DIP- 18 (12+3+3) for standard assembly, and SO20 (12+4+4) for SMD assembly.

  • All features

    • Inhibit for zero current consumption (100mA at VCC= 24V)
    • Input/output synchronization function
    • Thermal shutdown
    • Protection against feedback disconnection
    • Soft start function
    • Output over voltage protection
    • Internal current limiting (pulse by pulse and HICCUP mode)
    • Zero load current operation (min 1mA)
    • Up to 3.5A step down converter
    • 3.3V and 5.1V (±1%) fixed output, and adjustable outputs from: 0.5V to 50V (3.3 type)5.1V to 50V (5.1 type)
    • Operating input voltage from 8V to 55V
    • Voltage feed forward
    • Precise 5.1V (1.5%) reference voltage externally available
    • Frequency adjustable up to 300kHz

电路原理图

eDesignSuite

eDesignSuite 是一套全面且易于使用的设计辅助工具,旨在帮助您简化系统开发过程,并支持广泛的ST产品。

电源管理设计中心

Thermal-electrical Simulators for Components Test

信号调节设计工具

NFC/RFID计算器

选择设计工具:

电源管理设计中心

Power Supply Design Tool Test

支持按拓扑、类型和产品进行SMPS设计
PFC design with analog and digitial control
支持各种PCB配置
选择类型:
DC/DC
AC/DC
Solar Battery Charger

电源管理设计中心

LED照明设计工具

处理常见拓扑中的AC-DC和DC-DC设计
显示带注释的交互式原理图
提供电流/电压曲线图、波特图、效率曲线和功率损耗数据
选择类型:
DC/DC
AC/DC

电源管理设计中心

数字电源工作台

提供电源部分和控制回路的逐步优化设计。
为定制应用生成 STM32Cube 嵌入式软件包,并允许生成与多个 STM32 IDE 兼容的固件项目。

电源管理设计中心

电源树设计器

为树中的每个节点指定输入/输出功率
检查一致性
设计每个单独的节点
选择设计工具:

Thermal-electrical Simulators for Components Test

STPOWER Studio

支持长期任务剖面
提供功率损耗与温度曲线图
帮助确定散热器热性能

Thermal-electrical Simulators for Components Test

PCB Thermal Simulator

Thermal analysis of a PCB from Gerber files.
Possibility to add heat sources, heat sinks, copper areas and thermal paths.
Powerful server-side engine for rendering and simulation.
Thermal results shown graphically via 2D table.

Thermal-electrical Simulators for Components Test

AC Switches Simulator test

选择额定值与应用波形
获取结温与阻断电压曲线图
搜索合适的器件并进行排序
test

Thermal-electrical Simulators for Components Test

Rectifier Diodes Simulator test

选择额定值与应用波形
预测功率损耗
搜索合适的器件并进行排序
test

Thermal-electrical Simulators for Components Test

Twister Sim

为ViPOWER汽车电源器件选型提供帮助
支持负载兼容性、线束优化、故障工况影响和诊断分析
支持各种PCB配置

Thermal-electrical Simulators for Components Test

TVS模拟器

指定系统额定值和浪涌波形
搜索合适的器件并进行排序

Thermal-electrical Simulators for Components Test

Estimate

数分钟即可完成简单原理图构建及固件输入
快速生成电池寿命、系统功耗和BOM成本的可靠估算结果
选择设计工具:

信号调节设计工具

有源滤波器

处理多级设计和常见拓扑结构
返回电路元件值
提供增益、相位和群延迟图
低通、高通和带通

信号调节设计工具

比较器

处理最常见的配置
返回电路元件值
提供I/O信号波形
反相、非反相、窗口

信号调节设计工具

低侧电流检测

返回电路元件值
提供电流误差图

信号调节设计工具

高侧电流检测

提供电流误差图。
帮助选择正确的高侧电流检测和分流器件。
选择设计工具:

NFC/RFID计算器

NFC电感

输入电路图和基板性能
获取天线阻抗

NFC/RFID计算器

UHF链路预算

输入正向和反向链接特性
该工具将返回链接预算估算

NFC/RFID计算器

NFC调谐电路

输入天线参数和匹配目标
选择匹配网络的拓扑结构
该工具将返回所需设计目标的元件值

EDA Symbols, Footprints and 3D Models

STMicroelectronics - L4973

Speed up your design by downloading all the EDA symbols, footprints and 3D models for your application. You have access to a large number of CAD formats to fit with your design toolchain.

Please select one model supplier :

Symbols

Symbols

Footprints

Footprints

3D model

3D models

Quality and Reliability

Part Number Marketing Status Package Grade 符合RoHS级别 Longevity Commitment Longevity Starting Date Material Declaration**
L4973D3.3-013TR
Active
SO-20 Industrial Ecopack2 - -
L4973D5.1-013TR
Active
SO-20 Industrial Ecopack2 - -

L4973D3.3-013TR

Package:

SO-20

Material Declaration**:

PDF XML

Marketing Status

Active

Package

SO-20

Grade

Industrial

RoHS Compliance Grade

Ecopack2

L4973D5.1-013TR

Package:

SO-20

Material Declaration**:

PDF XML

Marketing Status

Active

Package

SO-20

Grade

Industrial

RoHS Compliance Grade

Ecopack2

(**) st.com上提供的材料声明表单可能是基于包装系列中最常用的封装的通用文档。因此,它们可能不是100%适用于特定的设备。有关特定设备的信息,请联系 销售支持

Sample & Buy

Loading...
Part Number
供货状态
Budgetary Price (US$)*/Qty
从ST订购
Order from distributors
Package
Packing Type
RoHS
Country of Origin
ECCN (US)
ECCN (EU)
L4973D5.1-013TR

经销商的可用性 L4973D5.1-013TR

代理商名称
地区 Stock 最小订购量 第三方链接

代理商库存报告日期:

无法联系到经销商,请联系我们的销售办事处
L4973D3.3-013TR

经销商的可用性 L4973D3.3-013TR

代理商名称
地区 Stock 最小订购量 第三方链接

代理商库存报告日期:

无法联系到经销商,请联系我们的销售办事处

L4973D5.1-013TR Active

Budgetary Price (US$)*/Qty:
-
Package:
Packing Type:
RoHS:
Country of Origin:
ECCN (US):
ECCN (EU):

Part Number:

L4973D5.1-013TR

代理商名称

代理商库存报告日期:

L4973D3.3-013TR Active

Budgetary Price (US$)*/Qty:
-
Package:
Packing Type:
RoHS:
Country of Origin:
ECCN (US):
ECCN (EU):

Part Number:

L4973D3.3-013TR

代理商名称

代理商库存报告日期:

(*) 建议转售单价(美元)仅用于预算用途。如需以当地货币计价的报价,请联系您当地的 ST销售办事处 或我们的 经销商