Loading spinner

M95320-W

批量生产
Design Win

32 Kbit SPI总线EEPROM,带高速时钟

下载数据手册 Order Direct

产品概述

描述

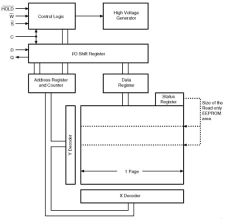
The M95320 devices are Electrically Erasable PROgrammable Memories (EEPROMs) organized as 4096 x 8 bits, accessed through the SPI bus.

The M95320 devices can operate with a supply range from 1.7 V to 5.5 V, and are guaranteed over the -40 °C/+85 °C temperature range.

  • 所有功能

    • Compatible with the Serial Peripheral Interface (SPI) bus
    • Memory array
      • 32 Kb (4 Kbytes) of EEPROM
      • Page size: 32 bytes
    • Write
      • Byte Write within 5 ms
      • Page Write within 5 ms
    • Additional Write lockable page (Identification page)
    • Write Protect: quarter, half or whole memory array
    • High-speed clock: 20 MHz
    • Single supply voltage:
      • 2.5 V to 5.5 V for M95320-W
      • 1.8 V to 5.5 V for M95320-R
      • 1.7 V to 5.5 V for M95320-DF
    • Operating temperature range: from -40°C up to +85°C
    • Enhanced ESD protection
    • More than 4 million Write cycles
    • More than 200-year data retention
    • Packages:
      • SO8 (ECOPACK2®)
      • TSSOP8 (ECOPACK2®)
      • UFDFPN8 (ECOPACK2®)

电路原理图

EDA符号、封装和3D模型

意法半导体 - M95320-W

Speed up your design by downloading all the EDA symbols, footprints and 3D models for your application. You have access to a large number of CAD formats to fit with your design toolchain.

Please select one model supplier :

Symbols

符号

Footprints

封装

3D model

3D模型

质量与可靠性

产品型号 Marketing Status 等级规格 符合RoHS级别 Longevity Commitment Longevity Starting Date 材料声明**
M95320-WDW6TP
批量生产
TSSOP-8L 工业 Ecopack2 - 2024-01-01T00:00:00.000+01:00
M95320-WMN6TP
批量生产
SO8 工业 Ecopack2 - 2024-01-01T00:00:00.000+01:00

M95320-WDW6TP

Package:

TSSOP-8L

Material Declaration**:

PDF XML

Marketing Status

批量生产

Package

TSSOP-8L

Grade

Industrial

RoHS Compliance Grade

Ecopack2

M95320-WMN6TP

Package:

SO8

Material Declaration**:

PDF XML

Marketing Status

批量生产

Package

SO8

Grade

Industrial

RoHS Compliance Grade

Ecopack2

(**) st.com上提供的材料声明表单可能是基于包装系列中最常用的封装的通用文档。因此,它们可能不是100%适用于特定的设备。有关特定设备的信息,请联系 销售支持

样片和购买

Loading...
Swipe or click the button to explore more details Don't show this again
产品型号
供货状态
Budgetary Price (US$)*/Qty
从ST订购
Order from distributors
包装类型
RoHS
Country of Origin
ECCN (US)
ECCN (EU)
Operating temperature (°C)
免费样片
ESample Max Qty
替代产品
最小值
最大值
M95320-WDW6TP
Available at distributors

经销商的可用性 M95320-WDW6TP

代理商名称
地区 库存 最小订购量 第三方链接

代理商库存报告日期:

无法联系到经销商,请联系我们的销售办事处

M95320-WMN6TP
Available at distributors

经销商的可用性 M95320-WMN6TP

代理商名称
地区 库存 最小订购量 第三方链接

代理商库存报告日期:

无法联系到经销商,请联系我们的销售办事处

M95320-WDW6TP 批量生产

Budgetary Price (US$)*/Qty:
-
包:
包装类型:
RoHS:
Country of Origin:
ECCN (US):
ECCN (EU):

产品型号:

M95320-WDW6TP

Operating Temperature (°C)

Min:

Max:

免费样片:

-

ESample Max Qty:

-

替代产品:

-

代理商名称

代理商库存报告日期:

M95320-WMN6TP 批量生产

Budgetary Price (US$)*/Qty:
-
包:
包装类型:
RoHS:
Country of Origin:
ECCN (US):
ECCN (EU):

产品型号:

M95320-WMN6TP

Operating Temperature (°C)

Min:

Max:

免费样片:

-

ESample Max Qty:

-

替代产品:

-

代理商名称

代理商库存报告日期:

Swipe or click the button to explore more details Don't show this again

(*) 建议转售单价(美元)仅用于预算用途。如需以当地货币计价的报价,请联系您当地的 ST销售办事处 或我们的 经销商