Loading spinner

STBP120

批量生产
Design Win

支持热关断的过电压保护设备

下载数据手册

产品概述

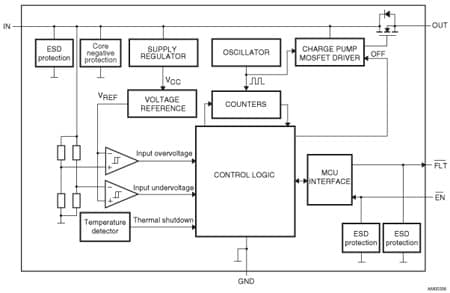
描述

The STBP120 device provides overvoltage protection for input voltage up to +28 V. Its low RDS(on) N-channel MOSFET switch protects the systems connected to the OUT pin against failures of the DC power supplies in accordance with the China MII Communications Standard YD/T 1591-2006.

In the event of an input overvoltage condition, the device immediately disconnects the DC power supply by turning off an internal low RDS(on) N-channel MOSFET to prevent damage to protected systems.

In addition, the device also monitors its own junction temperature and switches off the internal MOSFET if the junction temperature exceeds the specified limit.

The device can be controlled by the microcontroller and can also provide status information about fault conditions.

The STBP120 is offered in a small, RoHS-compliant TDFN – 10-lead (2.5 mm x 2 mm) package.

  • 所有功能

    • Certain overvoltage options compliant with the China Communications Standard YD/T 1591- 2006 (overvoltage protection only)
    • IN input ESD withstand voltage up to ±15 kV (air discharge), up to ±8 kV (contact discharge) in typical application circuit with 1 μF input capacitor (±2 kV HBM for standalone device)
    • Small, RoHS compliant 2.5 x 2 mm TDFN – 10-lead package.
    • Enable input (EN)
    • Softstart feature to control the inrush current
    • Input overvoltage protection up to 28 V
    • Low RDS(on) of 90 mΩ
    • Integrated high voltage N-channel MOSFET switch
    • Thermal shutdown protection
    • Fault indication output (FLT)
    • Integrated charge pump

电路原理图

EDA符号、封装和3D模型

意法半导体 - STBP120

Speed up your design by downloading all the EDA symbols, footprints and 3D models for your application. You have access to a large number of CAD formats to fit with your design toolchain.

Please select one model supplier :

Symbols

符号

Footprints

封装

3D model

3D模型

质量与可靠性

产品型号 Marketing Status 等级规格 符合RoHS级别 Longevity Commitment Longevity Starting Date 材料声明**
STBP120AVDK6F
批量生产
TDFN10 2.5x2x0.75 工业 Ecopack3 - -
STBP120BVDK6F
批量生产
TDFN10 2.5x2x0.75 工业 Ecopack3 - -
STBP120CVDK6F
批量生产
TDFN10 2.5x2x0.75 工业 Ecopack3 - -
STBP120DVDK6F
批量生产
TDFN10 2.5x2x0.75 工业 Ecopack3 - -

STBP120AVDK6F

Package:

TDFN10 2.5x2x0.75

Material Declaration**:

PDF XML

Marketing Status

批量生产

Package

TDFN10 2.5x2x0.75

Grade

Industrial

RoHS Compliance Grade

Ecopack3

STBP120BVDK6F

Package:

TDFN10 2.5x2x0.75

Material Declaration**:

PDF XML

Marketing Status

批量生产

Package

TDFN10 2.5x2x0.75

Grade

Industrial

RoHS Compliance Grade

Ecopack3

STBP120CVDK6F

Package:

TDFN10 2.5x2x0.75

Material Declaration**:

PDF XML

Marketing Status

批量生产

Package

TDFN10 2.5x2x0.75

Grade

Industrial

RoHS Compliance Grade

Ecopack3

STBP120DVDK6F

Package:

TDFN10 2.5x2x0.75

Material Declaration**:

Marketing Status

批量生产

Package

TDFN10 2.5x2x0.75

Grade

Industrial

RoHS Compliance Grade

Ecopack3

(**) st.com上提供的材料声明表单可能是基于包装系列中最常用的封装的通用文档。因此,它们可能不是100%适用于特定的设备。有关特定设备的信息,请联系 销售支持

样片和购买

Loading...
Swipe or click the button to explore more details Don't show this again
产品型号
供货状态
Budgetary Price (US$)*/Qty
从ST订购
Order from distributors
包装类型
RoHS
Country of Origin
ECCN (US)
ECCN (EU)
STBP120DVDK6F
Available at distributors

经销商的可用性 STBP120DVDK6F

代理商名称
地区 库存 最小订购量 第三方链接

代理商库存报告日期:

无法联系到经销商,请联系我们的销售办事处
STBP120BVDK6F
Available at distributors

经销商的可用性 STBP120BVDK6F

代理商名称
地区 库存 最小订购量 第三方链接

代理商库存报告日期:

无法联系到经销商,请联系我们的销售办事处
STBP120CVDK6F
Available at distributors

经销商的可用性 STBP120CVDK6F

代理商名称
地区 库存 最小订购量 第三方链接

代理商库存报告日期:

无法联系到经销商,请联系我们的销售办事处
STBP120AVDK6F
Available at distributors

经销商的可用性 STBP120AVDK6F

代理商名称
地区 库存 最小订购量 第三方链接

代理商库存报告日期:

无法联系到经销商,请联系我们的销售办事处

STBP120DVDK6F 批量生产

Budgetary Price (US$)*/Qty:
-
包:
包装类型:
RoHS:
Country of Origin:
ECCN (US):
ECCN (EU):

产品型号:

STBP120DVDK6F

代理商名称

代理商库存报告日期:

STBP120BVDK6F 批量生产

Budgetary Price (US$)*/Qty:
-
包:
包装类型:
RoHS:
Country of Origin:
ECCN (US):
ECCN (EU):

产品型号:

STBP120BVDK6F

代理商名称

代理商库存报告日期:

STBP120CVDK6F 批量生产

Budgetary Price (US$)*/Qty:
-
包:
包装类型:
RoHS:
Country of Origin:
ECCN (US):
ECCN (EU):

产品型号:

STBP120CVDK6F

代理商名称

代理商库存报告日期:

STBP120AVDK6F 批量生产

Budgetary Price (US$)*/Qty:
-
包:
包装类型:
RoHS:
Country of Origin:
ECCN (US):
ECCN (EU):

产品型号:

STBP120AVDK6F

代理商名称

代理商库存报告日期:

Swipe or click the button to explore more details Don't show this again

(*) 建议转售单价(美元)仅用于预算用途。如需以当地货币计价的报价,请联系您当地的 ST销售办事处 或我们的 经销商