Loading spinner

STLED316S

批量生产
Design Win

具有键盘扫描功能的串口连接6位LED控制器

下载数据手册 Order Direct

产品概述

描述

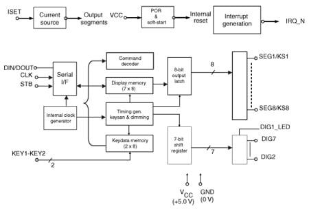
The STLED316S is a compact LED controller and driver that interface microprocessors to LED displays through a serial 3-wire interface. It drives LED connected in common anode configuration.

The STLED316S drives up to 48 discrete LEDs in 8 segment/6 digit configuration while functioning from a supply voltage of 5.0V. Additionally it can be used to drive 8 discrete LEDs which form a part of LED digit. The individual LEDs are wired as segments of a digit and brightness of these individual LEDs can be controlled digitally. The maximum segment current for the display digits is set through a single external resistor. Individual digits may be addressed and updated without rewriting the entire display.

Additionally it includes key scanning for an 8x2 key matrix which automatically scans a matrix of up to 16 switches. STLED316S supports numerictype displays and reduces the overall BOM costs through high integration. Also it provides ESD protection of greater than 4 kV HBM.

The LED controller/driver is ideal as a peripheral device to interface the display with a singlechip microcomputer.

  • 所有功能

    • A single LED digit output (DIG1_LED) can be used to drive up to 8 discrete LEDs
    • Inputs with Schmitt trigger give superior noise immunity
    • 5.0 V (± 10%) for VCC
    • 8-step dimming circuit to control brightness of individual LEDs for LED digit
    • Built-in power on reset and soft-start circuits
    • Drives common-anode LED digits
    • -40 °C to 85 °C operating temperature range
    • Available in SO24 package
    • 8-step dimming circuit to control the overall display brightness
    • 3-wire serial bus interface (CLK, STB, DIN/DOUT)
    • LED driver with 14 outputs (8 segments/6 digits)
    • Output pins connected directly to the LEDs or can be open-drain
    • 40 mA load current capability for each segment
    • Low power consumption in standby mode
    • Single external resistor for output current setting
    • Key-scanning (8 x 2 matrix)

电路原理图

EDA符号、封装和3D模型

意法半导体 - STLED316S

Speed up your design by downloading all the EDA symbols, footprints and 3D models for your application. You have access to a large number of CAD formats to fit with your design toolchain.

Please select one model supplier :

Symbols

符号

Footprints

封装

3D model

3D模型

质量与可靠性

产品型号 Marketing Status 等级规格 符合RoHS级别 Longevity Commitment Longevity Starting Date 材料声明**
STLED316SMTR
批量生产
SO-24 工业 Ecopack2 - -

STLED316SMTR

Package:

SO-24

Material Declaration**:

PDF XML

Marketing Status

批量生产

Package

SO-24

Grade

Industrial

RoHS Compliance Grade

Ecopack2

(**) st.com上提供的材料声明表单可能是基于包装系列中最常用的封装的通用文档。因此,它们可能不是100%适用于特定的设备。有关特定设备的信息,请联系 销售支持

样片和购买

Loading...
Swipe or click the button to explore more details Don't show this again
产品型号
供货状态
Budgetary Price (US$)*/Qty
从ST订购
Order from distributors
包装类型
RoHS
Country of Origin
ECCN (US)
ECCN (EU)
STLED316SMTR
Available at distributors

经销商的可用性 STLED316SMTR

代理商名称
地区 库存 最小订购量 第三方链接

代理商库存报告日期:

无法联系到经销商,请联系我们的销售办事处

STLED316SMTR 批量生产

Budgetary Price (US$)*/Qty:
-
包:
包装类型:
RoHS:
Country of Origin:
ECCN (US):
ECCN (EU):

产品型号:

STLED316SMTR

代理商名称

代理商库存报告日期:

Swipe or click the button to explore more details Don't show this again

(*) 建议转售单价(美元)仅用于预算用途。如需以当地货币计价的报价,请联系您当地的 ST销售办事处 或我们的 经销商