STFPC311
Obsolete
Design Win
Front panel controller/driver with standby

Download datasheet

Product overview

描述

The STFPC311 is a complete, low-cost, integrated solution for controlling and driving a front panel Vacuum Fluorescent Display (VFD). It is ideal for decreasing power consumption in standby mode by reducing the application standby current to a minimum. It also contains a built-in remote control decoder module.

While in standby mode of operation, a valid key press or signal from the infrared decoder will start a proper power-up.

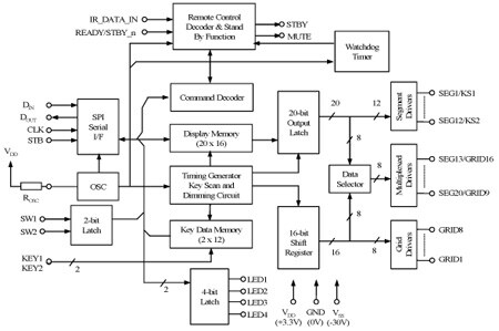
The STFPC311 integrates a VFD controller with a driver that is run on a 1/8 to 1/16-duty factor. It consists of 12 segment output lines, 8 grid output lines, 8 shared segments/grid output drive lines, a display memory, a control circuit, and a key scan circuit. Serial data is input to the STFPC311 through the SPI interface of a microcontroller (STB, DIN, DOUT, and CLK).

Additionally, this IC can support two general-purpose input switches (SW1 and SW2).

  • All features

    • IC front panel controller/driver
    • Timing power standby management controller
    • IC power supply from 3.3V (VDD) to –30V (VSS)
    • Integrated VFD driver and controller
    • Infrared (IR) Remote Control (RC) Decoder (Philips or NEC format)
    • Drives many display modes (12 segments/16 digits to 20 segments/8 digits)
    • High voltage outputs (VDD- 33.3V max)
    • No external resistors necessary for driver outputs (P-channel open-drain with pull-down resistor outputs)
    • Key scanning (up to 12mm x 2mm matrix)
    • LED ports (4 channels, 20mA, max)
    • Serial interface (STB, CLK, DIN, and DOUT) communication protocol
    • Dimming circuit (adjustable up to 8 steps)
    • Supports auto-increment of display digit, which lightens the load on the MCU
    • Programmable 8 hot keys for the IR remote control command
    • Programmable 8 hot keys for key scan command
    • Low power consumption in standby mode
    • 2 general-purpose input ports (SW1, SW2)
    • Available in PQFP-52 package
    • DVD players
    • VCD players
    • AV equipment like Home Stereo
    • POS Systems

电路原理图

EDA Symbols, Footprints and 3D Models

STMicroelectronics - STFPC311

Speed up your design by downloading all the EDA symbols, footprints and 3D models for your application. You have access to a large number of CAD formats to fit with your design toolchain.

Please select one model supplier :

Symbols

Symbols

Footprints

Footprints

3D model

3D models