ST7263BE1
Obsolete
Design Win
Low Speed USB 8-Bit MCU Family with Flash/ROM, up to 512 Bytes RAM, 8-Bit ADC, WDG, Timer, SCI & I2C

Download datasheet

Product overview

描述

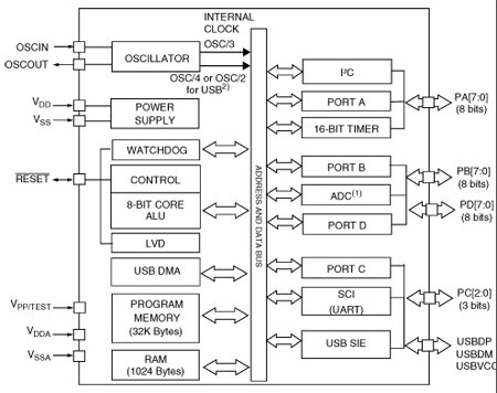
The ST7263B microcontrollers form a sub-family of the ST7 MCUs dedicated to USB applications. The devices are based on an industry-standard 8-bit core and feature an enhanced instruction set. They operate at a 24 MHz or 12 MHz oscillator frequency. Under software control, the ST7263B MCUs may be placed in either Wait or Halt modes, thus reducing power consumption. The enhanced instruction set and addressing modes afford real programming potential. In addition to standard 8-bit data management, the ST7263B MCUs feature true bit manipulation, 8x8 unsigned multiplication and indirect addressing modes. The devices include an ST7 Core, up to 32Kbytes of program memory, up to 1024 bytes of RAM, 27 I/O lines and the following on-chip peripherals: USB low speed interface with 3 endpoints with programmable in/out configuration using the DMA architecture with embedded 3.3V voltage regulator and transceivers (no external components are needed). 8-bit analog-to-digital converter (ADC) with 12 multiplexed analog inputs Industry standard asynchronous SCI serial interface Watchdog 16-bit timer featuring an external clock input, 2 Input Captures, 2 Output Compares with Pulse Generator capabilities Fast I 2C multimaster interface Low voltage reset (LVD) ensuring proper power-on or power-off of the device

The ST72F63B devices are Flash versions. They support programming in IAP mode (in-application programming) via the on-chip USB interface.

  • All features

    • 2 communication InterfacesAsynchronous serial communications InterfaceI2C multimaster Interface up to 400 kHz
    • 2 timersProgrammable watchdog 16-bit timer with 2 Input Captures, 2 Output Compares, PWM output and clock input
    • Development toolsVersatile development tools (under Windows) including assembler, linker, C-compiler, archiver, source level debugger, software library, hardware emulator, programming boards and gang programmers, HID and DFU software layers
    • Memories4, 8, 16 or 32 Kbytes program memory: high density Flash (HDFlash), FastROM or ROM with Read-Out and Write protectionIn-application programming (IAP) and in-circuit programming (ICP) 384, 512 or 1024 bytes RAM memory (128-byte stack)
    • USB (universal serial bus) InterfaceDMA for low speed applications compliant with USB 1.5 Mbs (version 2.0) and HID specifications (version 1.0)Integrated 3.3 V voltage regulator and transceiversSupports USB DFU class specificationSuspend and Resume operations3 endpoints with programmable Input/Output configuration
    • Clock, reset and supply managementRun, Wait, Slow and Halt CPU modes12 or 24 MHz oscillatorRAM Retention modeOptional low voltage detector (LVD)
    • 1 analog peripheral8-bit A/D converter with 8 or 12 channels
    • Instruction Set63 basic instructions17 main addressing modes 8 x 8 unsigned multiply instructionTrue bit manipulation
    • Up to 27 I/O portsUp to 8 high sink I/Os (10 mA at 1.3 V)2 very high sink true open drain I/Os (25 mA at 1.5 V)Up to 8 lines individually programmable as interrupt inputs

电路原理图

EDA Symbols, Footprints and 3D Models

STMicroelectronics - ST7263BE1

Speed up your design by downloading all the EDA symbols, footprints and 3D models for your application. You have access to a large number of CAD formats to fit with your design toolchain.

Please select one model supplier :

Symbols

Symbols

Footprints

Footprints

3D model

3D models