ST6265C
Obsolete
Design Win
8B MCU OTP,ROM,FASTROM,EPROM,A/D,TIMER,EEPROM

Download datasheet

Product overview

描述

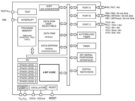
The ST62T55C, ST62T65C and ST62E65C devices are low cost members of the ST62xx 8-bit HCMOS family of microcontrollers, which is targeted at low to medium complexity applications. All ST62xx devices are based on a building block approach: a common core is surrounded by a number of on-chip peripherals.

The ST62E65C is the erasable EPROM version of the ST62T65C device, which may be used to emulate the ST62T55C and ST62T65C device, as well as the respective ST6255C and ST6265C ROM devices.

OTP and EPROM devices are functionally identical. The ROM based versions offer the same functionality selecting as ROM options the options defined in the programmable option byte of the OTP/EPROM versions.

OTP devices offer all the advantages of user programmability at low cost, which make them the ideal choice in a wide range of applications where frequent code changes, multiple code versions or last minute programmability are required.

These compact low-cost devices feature a Timer comprising an 8-bit counter and a 7-bit programmable prescaler, an 8-bit Auto-Reload Timer, EEPROM data capability (except ST62T55C), a serial port communication interface, an 8-bit A/D Converter with 13 analog inputs and a Digital Watchdog timer, making them well suited for a wide range of automotive, appliance and industrial applications.

  • All features

    • User Programmable Options
    • Data EEPROM: 128 bytes (none on ST62T55C)
    • 8 I/O lines can sink up to 30mA to drive LEDs or TRIACs directly
    • 21 I/O pins, fully programmable as:Input with pull-up resistorInput without pull-up resistorInput with interrupt generationOpen-drain or push-pull outputAnalog Input
    • 8-bit Auto-reload Timer with 7-bit programmable prescaler (AR Timer)
    • 8-bit Timer / Counter with 7-bit programmable prescaler
    • Oscillator Safe Guard
    • Digital Watchdog
    • Low Voltage Detector for Safe Reset
    • 8-bit Synchronous Peripheral Interface (SPI)
    • 8-bit A/D Converter with 13 analog inputs
    • User configurable Power-on Reset
    • On-chip Clock oscillator can be driven by Quartz Crystal Ceramic resonator or RC network
    • ST626x-EMU2 Emulation and Development System (connects to an MS-DOS PC via a parallel port)
    • One external Non-Maskable Interrupt
    • Data Storage in Program Memory:User selectable size
    • Look-up Table capability in Program Memory
    • 3.0 to 6.0V Supply Operating Range
    • -40 to +125˚C Operating Temperature Range
    • 8 MHz Maximum Clock Frequency
    • 5 Interrupt Vectors
    • Data RAM: 128 bytes
    • Run, Wait and Stop Modes

电路原理图

EDA Symbols, Footprints and 3D Models

STMicroelectronics - ST6265C

Speed up your design by downloading all the EDA symbols, footprints and 3D models for your application. You have access to a large number of CAD formats to fit with your design toolchain.

Please select one model supplier :

Symbols

Symbols

Footprints

Footprints

3D model

3D models