STTS3000

已停产
Design Win

2.3 V memory module temperature sensor

下载数据手册

产品概述

描述

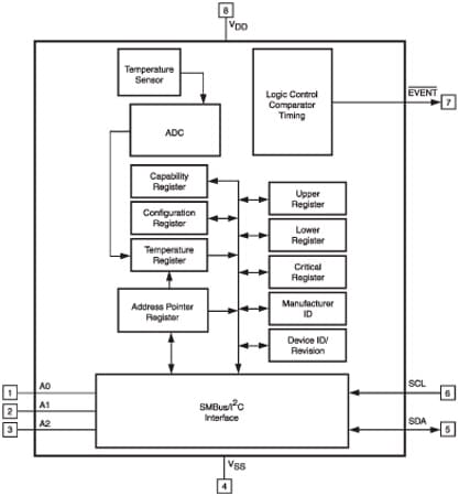
The STTS3000 is targeted for DIMM modules in mobile personal computing platforms (laptops), servers and other industrial applications. The thermal sensor (TS) in the STTS3000 is compliant with the JEDEC specification TS3000 which defines memory module thermal sensors requirements for mobile platforms.

The TS provides space as well as cost savings for mobile and server platform dual inline memory modules (DIMM) manufacturers, as it is packaged in the compact 2 mm x 3 mm 8-lead TDFN package with a thinner maximum height of 0.80 mm. The DN package is compliant to JEDEC MO-229, variation WCED-3.

The digital temperature sensor has a programmable 9-12 bit analog-to-digital converter (ADC) which monitors and digitizes the temperature to a resolution of up to 0.0625 °C. The default resolution is 0.25 °C/LSB (10-bit). The typical accuracies over these temperature ranges are ±2 °C over the full temperature measurement range of –40 °C to 125 °C, ±1 °C in the +40 °C to +125 °C active temperature range, and ±0.5 °C in the +75 °C to +95 °C monitor temperature range

The temperature sensor in the STTS3000 is specified for operating at supply voltages from 2.3 V to 3.6 V. Operating at 3.3 V, the typical supply current is 160 μA (includes SMBus communication current).

The onboard sigma-delta ADC converts the measured temperature to a digital value that is calibrated in °C. For Fahrenheit applications, a lookup table or conversion routine is required. The STTS3000 is factory-calibrated and requires no external components to measure temperature.

The digital temperature sensor has user-programmable registers that provide the capabilities for DIMM temperature-sensing applications. The open drain event output pin is active when the monitoring temperature exceeds a programmable limit, or it falls above or below an alarm window. The user has the option to set the event output as a critical temperature output. This pin can be configured to operate in either a comparator mode for thermostat operation or in interrupt mode.

  • 所有功能

    • STTS3000 is a 2.3 V memory module temperature sensor forward compatible with JEDEC standard TS3000 and backward compatible with STTS424
    • Operating temperature range:
      • –40 °C to +125 °C
    • Single supply voltage: 2.3 V to 3.6 V
    • Temperature sensor resolution: programmable (9-12 bits)0.25 °C (typ)/LSB - (10-bit) default
    • Temperature sensor accuracy (max):
      • ± 1 °C from +75 °C to +95 °C
      • ± 2 °C from +40 °C to +125 °C
      • ± 3 °C from –40 °C to +125 °C
    • ADC conversion time: 125 ms (max) at default resolution (10-bit)
    • Typical operating supply current: 160 μA
    • Temperature hysteresis selectable set points from: 0, 1.5, 3, 6.0 °C
    • Two-wire SMBus/I2C - compatible serial interface
    • Supports up to 400 kHz transfer rate
    • Does not initiate clock stretching
    • Supports SMBus timeout 25 ms - 35 ms
    • Spike suppression filters on the two-wire bus inputs
    • Voltage hysteresis per I2C specs on the two-wire bus inputs
    • 2 mm x 3 mm TDFN8, height: 0.80 mm (max)
      • Compliant to JEDEC MO-229, WCED-3
    • RoHS compliant, halogen-free

电路原理图

EDA符号、封装和3D模型

意法半导体 - STTS3000

Speed up your design by downloading all the EDA symbols, footprints and 3D models for your application. You have access to a large number of CAD formats to fit with your design toolchain.

Please select one model supplier :

Symbols

符号

Footprints

封装

3D model

3D模型