ST7570
Obsolete
Design Win
S-FSK电力线网络片上系统

Download datasheet

Product overview

描述

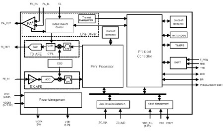
ST7570是一款功能强大的电力线网络片上系统。它集成了高性能PHY处理器内核和协议控制器内核,并配备了完全集成的模拟前端 (AFE) 和线路驱动器。

ST7570的功能特点使其成为基于IEC61334-5-1 S-FSK标准的最具性价比的单芯片电力线通信解决方案。

  • All features

    • 完全集成的窄带电力线网络片上系统
    • 高性能PHY处理器,带有用于扩展频移键控 (S-FSK) 调制的嵌入式全套固件:
      • 可编程比特率高达2.4 Kbps (@ 50 Hz)
      • 1 Hz步进可编程载波,可达148.5 kHz
      • 信噪比估算
      • 接收信号强度指示
    • 协议引擎嵌入:
      • IEC61334-5-1 PHY和MAC层
      • 闹钟管理
      • 中继器呼叫程序
      • 智能搜索启动程序
    • 片上外设:
      • 主机控制器UART接口
    • 完全集成的模拟前端:
      • ADC和DAC
      • 带自动增益控制的PGA,实现高接收灵敏度
      • 高线性度调制信号生成
    • 用于线路驱动的全集成单端功率放大器
      • 输出可达 1 A rms,14 V p-p
      • 可配置的主动滤波拓扑结构
      • 具有极高的线性度
      • 嵌入式温度传感器
      • 电流控制功能
    • 8 V至18 V功率放大器供电
    • 3.3 V或5 V数字I/O供电
    • 集成5 V和1.8 V线性稳压器,用于AFE和数字内核供电
    • 电源过零同步
    • 适用于符合EN50065和FCC第15部分标准的应用
    • VFQFPN48裸露焊盘封装
    • 工作温度范围:-40 °C至85 °C

电路原理图

EDA Symbols, Footprints and 3D Models

STMicroelectronics - ST7570

Speed up your design by downloading all the EDA symbols, footprints and 3D models for your application. You have access to a large number of CAD formats to fit with your design toolchain.

Please select one model supplier :

Symbols

Symbols

Footprints

Footprints

3D model

3D models