M48T37Y
Active
Design Win
5.0或3.3 V, 256 Kbit(32 Kbit x 8)TIMEKEEPER® SRAM

Download datasheet

Product overview

描述

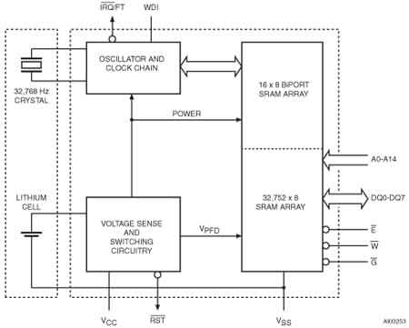
The M48T37Y/V TIMEKEEPER®RAM is a 32 Kb x 8 non-volatile static RAM and real-time clock. The monolithic chip is available in a special package which provides a highly integrated battery-backed memory and real-time clock solution.

The 44-lead, 330 mil SOIC package provides sockets with gold-plated contacts at both ends for direct connection to a separate SNAPHAT housing containing the battery and crystal. The unique design allows the SNAPHAT®battery/crystal package to be mounted on top of the SOIC package after the completion of the surface mount process.

Insertion of the SNAPHAT housing after reflow prevents potential battery and crystal damage due to the high temperatures required for device surface-mounting. The SNAPHAT housing is keyed to prevent reverse insertion.

The SOIC and battery packages are shipped separately in plastic anti-static tubes or in tape & reel form. For the 44-lead SOIC, the battery/crystal package (e.g., SNAPHAT) part number is “M4T28-BR12SH” or “M4T32-BR12SH”.

  • All features

    • Integrated ultra low power SRAM, real-time clock, power-fail control circuit, and battery
    • Frequency test output for real-time clock software calibration
    • Automatic power-fail chip deselect and WRITE protection
    • Watchdog timer
    • WRITE protect voltage (VPFD= Power-fail deselect voltage):
      • M48T37Y: VCC= 4.5 to 5.5 V 4.2 V ≤ VPFD≤ 4.5 V
      • M48T37V: VCC= 3.0 to 3.6 V 2.7 V ≤ VPFD≤ 3.0 V
    • Packaging includes a 44-lead SOIC and SNAPHAT®top (to be ordered separately)
    • SOIC package provides direct connection for a SNAPHAT®top which contains the battery and crystal
    • Microprocessor power-on reset (valid even during battery backup mode)
    • Programmable alarm output active in the battery backup mode
    • Battery low flag
    • RoHS compliant
      • Lead-free second level interconnect

电路原理图

EDA Symbols, Footprints and 3D Models

STMicroelectronics - M48T37Y

Speed up your design by downloading all the EDA symbols, footprints and 3D models for your application. You have access to a large number of CAD formats to fit with your design toolchain.

Please select one model supplier :

Symbols

Symbols

Footprints

Footprints

3D model

3D models

Quality and Reliability

Part Number Marketing Status Package Grade 符合RoHS级别 Longevity Commitment Longevity Starting Date Material Declaration**
M48T37Y-70MH1F
Active
SOH44 Industrial Ecopack2 - -

M48T37Y-70MH1F

Package:

SOH44

Material Declaration**:

PDF XML

Marketing Status

Active

Package

SOH44

Grade

Industrial

RoHS Compliance Grade

Ecopack2

(**) st.com上提供的材料声明表单可能是基于包装系列中最常用的封装的通用文档。因此,它们可能不是100%适用于特定的设备。有关特定设备的信息,请联系 销售支持

Sample & Buy

Loading...
Part Number
供货状态
Budgetary Price (US$)*/Qty
从ST订购
Order from distributors
Package
Packing Type
RoHS
Country of Origin
ECCN (US)
ECCN (EU)
Operating temperature (°C)
最小值
最大值
M48T37Y-70MH1F

经销商的可用性 M48T37Y-70MH1F

代理商名称
地区 Stock 最小订购量 第三方链接

代理商库存报告日期:

无法联系到经销商,请联系我们的销售办事处

M48T37Y-70MH1F Active

Budgetary Price (US$)*/Qty:
-
Package:
Packing Type:
RoHS:
Country of Origin:
ECCN (US):
ECCN (EU):

Part Number:

M48T37Y-70MH1F

Operating Temperature (°C)

Min:

Max:

代理商名称

代理商库存报告日期:

(*) 建议转售单价(美元)仅用于预算用途。如需以当地货币计价的报价,请联系您当地的 ST销售办事处 或我们的 经销商