M41ST85W
Active
Design Win
3.0/3.3 V I²C组合实时时钟、NVRAM监控器和微处理器监控器

Download datasheet Order Direct

Product overview

描述

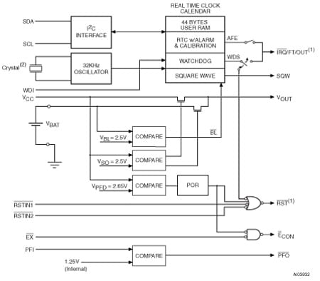
The M41ST85W is a combination serial real-time clock, microprocessor supervisor, and NVRAM supervisor. It is built in a low-power CMOS SRAM process and has a 64-byte memory space with 44 bytes of NVRAM and 20 memory-mapped RTC registers. The RTC registers are configured in binary coded decimal (BCD) format.

The M41ST85W combines a 400 kHz I²C serial RTC with an automatic backup battery switchover circuit for powering an external LPSRAM as well as the internal RTC. When power begins to fail, the switchover automatically connects to the backup battery to keep the RTC and external LPSRAM alive in the absence of system power. Access to the LPSRAM is also cut off via a chip-enable gate function, thereby write-protecting the memory. A programmable watchdog and power-on reset/low voltage detect function are the key elements in the microprocessor supervisor section.

The real-time clock includes a built-in 32.768 kHz oscillator (crystal-controlled), which provides the time base for the timekeeping and calendar functions. Eight of the 20 clock registers provide the basic clock/calendar functions while the other 12 bytes provide status/control for the alarm, watchdog, and squarewave functions.

RTC addresses and data are transferred serially via the two-line, bidirectional I²C interface. The built-in address register is incremented automatically after each WRITE or READ data byte.

The M41ST85W has a built-in power sense circuit which detects power failures and automatically switches to the backup battery when a power failure occurs. During an outage, the power to sustain the SRAM and clock operations is typically supplied by a small lithium button-cell battery as is the case when using the SNAPHAT®package option.

Functions available to the user include a non-volatile, time-of-day clock/calendar, alarm interrupts, watchdog timer, and programmable squarewave generator. Other features include a power-on reset as well as two additional debounce reset inputs (RSTIN1and RSTIN2) which can also generate an output reset (RST).

The eight registers for basic clock/calendar functions contain the century, year, month, date, day, hour, minute, second, and tenths/hundredths of a second in 24-hour BCD format. Corrections for 28, 29 (leap year - valid until year 2100), 30 and 31 day months are made automatically.

The M41ST85W is offered in two 28-lead SOIC packages. The 300 mil SOH28 SNAPHAT®IC package mates with ST’s SNAPHAT battery/crystal top (ordered separately). SNAPHAT battery options include 48 mAh and 120 mAh. ST’s 300 mil SOX28 embedded crystal IC includes the 32 KHz crystal and is perfect for applications where a low profile is a must.

The SOH28 SNAPHAT SOIC includes sockets with gold plated contacts at both ends for direct connection to the SNAPHAT top. The SNAPHAT battery/crystal top is inserted atop the IC package after the completion of the surface mount assembly process which avoids potential battery and crystal damage due to the high temperatures required for device surface-mounting. The unique design allows the battery to be replaced, thus extending the life of the RTC and NVRAM indefinitely.

The SNAPHAT top is keyed to prevent reverse insertion. The SNAPHAT IC and SNAPHAT tops are shipped separately. The ICs are available in plastic anti-static tubes or in tape & reel form. The SNAPHAT tops are shipped in plastic anti-static tubes. The part numbers are M4T28-BR12SH1 (48 mAh) and M4T32-BR12SH1 (120 mAh). For the extended temperature requirement, the 120 mAh M4T32-BR12SH6 is available.

  • All features

    • Automatic battery switchover and WRITE protect for:
      • Internal serial RTC and
      • External low power SRAM (LPSRAM)
    • 400 kHz I²C serial interface
    • 3.0/3.3 V operating voltage
      • VCC= 2.7 to 3.6 V
    • Ultralow battery supply current of 500 nA (max)
    • RoHS compliant
      • Lead-free second level interconnect
    • Serial RTC features
      • 400 kHz I2C
      • 44 bytes of general purpose NVRAM
      • Counters for:
        • Seconds, minutes, hours, day, date, month, and year
        • Century
        • Tenths/hundredths of seconds
        • Clock calibration register allows compensation for crystal variations over temperature
      • Programmable alarm with repeat modes
        • Functions in battery back-up mode
      • Power-down timestamp (HT bit)
      • 2.5 to 5.5 V oscillator operating voltage
    • Microprocessor supervisor features
      • Programmable watchdog
        • 62.5 ms to 128 s time-out period
      • Early power-fail warning circuit (PFI/PFO) with 1.25 V precision reference
      • Power-on reset/low voltage detect
        • Open drain reset output
        • Reset voltage, VPFD= 2.60 V (nom)
        • Two reset input pins
        • Watchdog can be steered to reset output
    • NVRAM supervisor features
      • Non-volatizes external LPSRAM
        • Automatically switches to back-up battery and deselects (write-protects) external LPSRAM via chip-enable gate
        • Power-fail deselect (write protect) voltage, VPFD= 2.60 V (nom)
        • Switchover, VSO= 2.50 V (nom)
      • Battery monitor (battery low flag)
    • Other features
      • Programmable squarewave generator (1 Hz to 32 KHz)
      • –40°C to +85°C operation
      • Package options:
        • 28-lead SNAPHAT®IC (SOH28) SNAPHAT battery/crystal top to be ordered separately
        • 28-lead embedded crystal SOIC (SOX28)

电路原理图

You might also like...

EDA Symbols, Footprints and 3D Models

STMicroelectronics - M41ST85W

Speed up your design by downloading all the EDA symbols, footprints and 3D models for your application. You have access to a large number of CAD formats to fit with your design toolchain.

Please select one model supplier :

Symbols

Symbols

Footprints

Footprints

3D model

3D models

Quality and Reliability

Part Number Marketing Status Package Grade 符合RoHS级别 Longevity Commitment Longevity Starting Date Material Declaration**
M41ST85WMH6F
Active
SOH28 Industrial Ecopack2 (**) - -
M41ST85WMX6TR
Active
SO28 WITH EMBEDDED CRYSTAL Industrial Ecopack1 - -

M41ST85WMH6F

Package:

SOH28

Material Declaration**:

PDF XML

Marketing Status

Active

Package

SOH28

Grade

Industrial

RoHS Compliance Grade

Ecopack2 (**)

M41ST85WMX6TR

Package:

SO28 WITH EMBEDDED CRYSTAL

Material Declaration**:

Marketing Status

Active

Package

SO28 WITH EMBEDDED CRYSTAL

Grade

Industrial

RoHS Compliance Grade

Ecopack1

(**) st.com上提供的材料声明表单可能是基于包装系列中最常用的封装的通用文档。因此,它们可能不是100%适用于特定的设备。有关特定设备的信息,请联系 销售支持

Sample & Buy

Loading...
Part Number
供货状态
Budgetary Price (US$)*/Qty
从ST订购
Order from distributors
Package
Packing Type
RoHS
Country of Origin
ECCN (US)
ECCN (EU)
Operating temperature (°C)
NVRAM size (B)
最小值
最大值
M41ST85WMH6F

经销商的可用性 M41ST85WMH6F

代理商名称
地区 Stock 最小订购量 第三方链接

代理商库存报告日期:

无法联系到经销商,请联系我们的销售办事处

M41ST85WMX6TR

经销商的可用性 M41ST85WMX6TR

代理商名称
地区 Stock 最小订购量 第三方链接

代理商库存报告日期:

无法联系到经销商,请联系我们的销售办事处

M41ST85WMH6F Active

Budgetary Price (US$)*/Qty:
-
Package:
Packing Type:
RoHS:
Country of Origin:
ECCN (US):
ECCN (EU):

Part Number:

M41ST85WMH6F

Operating Temperature (°C)

Min:

Max:

NVRAM size (B):

44

代理商名称

代理商库存报告日期:

M41ST85WMX6TR Active

Budgetary Price (US$)*/Qty:
-
Package:
Packing Type:
RoHS:
Country of Origin:
ECCN (US):
ECCN (EU):

Part Number:

M41ST85WMX6TR

Operating Temperature (°C)

Min:

Max:

NVRAM size (B):

44

代理商名称

代理商库存报告日期:

(*) 建议转售单价(美元)仅用于预算用途。如需以当地货币计价的报价,请联系您当地的 ST销售办事处 或我们的 经销商