TDA7718N

已停产
Design Win

3频带汽车音频处理器

下载数据手册

产品概述

描述

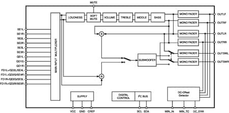
The TDA7718N is a high performance signal processor specifically designed for car radio applications. The device includes a high performance audioprocessor with fully integrated audio filters and new Soft Step architecture. The digital control allows programming in a wide range of filter characteristics.

  • 所有功能

    • Offset detectionOffset voltage detection circuit for on-board power amplifier failure diagnosis
    • Mute functionsDirect muteDigitally controlled SoftMute with 4 programmable mute-times (0.48 ms/0.96 ms/8 ms/16 ms)
    • Speaker4 independent soft step speaker controls+15 dB to -79 dB with 1 dB stepsDirect mute
    • Treble2nd order frequency response (10 kHz / 12.5 kHz / 15 kHz / 17.5 kHz)Center frequency programmable in 4 steps (10 kHz / 12.5 kHz / 15 kHz / 17.5 kHz)-15 dB to 15 dB with 1 dB resolution
    • Input multiplexerQD1: quasi-differential stereo inputsSE1: stereo single-ended inputSE2: stereo single-ended inputSE3: stereo single-ended inputFD1 / SE4+SE5: 1 full-differential input or 2 stereo single-ended inputs
    • Volume+23 dB to -31 dB with 1 dB step resolutionSoft-step control with programmable blend times
    • Loudness2nd order frequency responseProgrammable center frequency (400 Hz / 800 Hz / 2400 Hz)15 dB with 1 dB stepsSelectable high frequency boostSelectable flat-mode (constant attenuation)
    • Middle2nd order frequency responseCenter frequency programmable in 4 steps (500 Hz / 1 kHz / 1.5 kHz / 2.5 kHz)Q programmable 0.75/1.0/1.25-15 dB to 15 dB range with 1 dB resolution
    • Subwoofer2nd order low pass filter with programmable cut off frequency (55 Hz / 85 Hz / 120 Hz / 160 Hz)2 independent soft step level control, +15 dB to –79 dB with 1 dB steps
    • Bass2nd order frequency responseCenter frequency programmable in 4 steps (60 Hz / 80 Hz / 100 Hz / 200 Hz)Q programmable 1.0/1.25/1.5/2.0DC gain programmable-15 dB to 15 dB range with 1 dB resolution

电路原理图

EDA符号、封装和3D模型

意法半导体 - TDA7718N

Speed up your design by downloading all the EDA symbols, footprints and 3D models for your application. You have access to a large number of CAD formats to fit with your design toolchain.

Please select one model supplier :

Symbols

符号

Footprints

封装

3D model

3D模型