Loading spinner

VNH5180A-E

批量生产
Design Win

汽车级全集成H桥电机驱动

下载数据手册 Order Direct

产品概述

描述

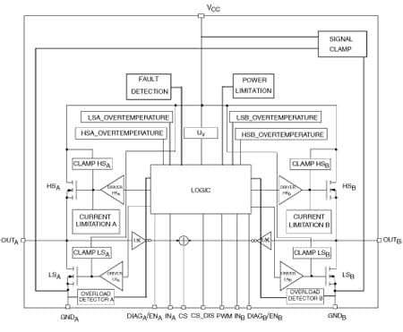
The VNH5180A-E is a full bridge motor driver intended for a wide range of automotive applications. The device incorporates a dual monolithic high-side driver and two low-side switches. Both switches are designed using STMicroelectronics’ well known and proven proprietary VIPower®M0 technology that allows to efficiently integrate on the same die a true Power MOSFET with an intelligent signal/protection circuitry. The three dies are assembled in PowerSSO-36 TP package on electrically isolated leadframes. This package, specifically designed for the harsh automotive environment offers improved thermal performance thanks to exposed die pads. Moreover, its fully symmetrical mechanical design allows superior manufacturability at board level. The input signals INAand INBcan directly interface to the microcontroller to select the motor direction and the brake condition. The DIAGA/ENAor DIAGB/ENB, when connected to an external pull-up resistor, enables one leg of the bridge. Each DIAGA/ENAprovides a feedback digital diagnostic signal as well. The normal operating condition is explained in the truth table. The CS pin allows to monitor the motor current by delivering a current proportional to its value when CS_DIS pin is driven low or left open. When CS_DIS is driven high, CS pin is in high impedance condition. The PWM, up to 20 KHz, allows to control the speed of the motor in all possible conditions. In all cases, a low level state on the PWM pin turns off both the LSAand LSBswitches.

  • 所有功能

    • Output current: 8 A
    • 3 V CMOS compatible inputs
    • Undervoltage shutdown
    • Overvoltage clamp
    • Thermal shutdown
    • Cross-conduction protection
    • Current and power limitation
    • Very low standby power consumption
    • PWM operation up to 20 KHz
    • Protection against loss of ground and loss of VCC
    • Current sense output proportional to motor current
    • Output protected against short to ground and short to VCC
    • Package: ECOPACK®

电路原理图

您可能还会喜欢...

EDA符号、封装和3D模型

意法半导体 - VNH5180A-E

Speed up your design by downloading all the EDA symbols, footprints and 3D models for your application. You have access to a large number of CAD formats to fit with your design toolchain.

Please select one model supplier :

Symbols

符号

Footprints

封装

3D model

3D模型

质量与可靠性

产品型号 Marketing Status 等级规格 符合RoHS级别 Longevity Commitment Longevity Starting Date 材料声明**
VNH5180A-E
批量生产
PSSO 36 汽车应用 Ecopack2 - -
VNH5180ATR-E
NRND
PSSO 36 汽车应用 Ecopack2 - -

VNH5180A-E

Package:

PSSO 36

Material Declaration**:

PDF XML

Marketing Status

批量生产

Package

PSSO 36

Grade

Automotive

RoHS Compliance Grade

Ecopack2

VNH5180ATR-E

Package:

PSSO 36

Material Declaration**:

PDF XML

Marketing Status

NRND

Package

PSSO 36

Grade

Automotive

RoHS Compliance Grade

Ecopack2

(**) st.com上提供的材料声明表单可能是基于包装系列中最常用的封装的通用文档。因此,它们可能不是100%适用于特定的设备。有关特定设备的信息,请联系 销售支持

样片和购买

Loading...
Swipe or click the button to explore more details Don't show this again
产品型号
供货状态
Budgetary Price (US$)*/Qty
从ST订购
Order from distributors
包装类型
RoHS
Country of Origin
ECCN (US)
ECCN (EU)
VNH5180ATR-E
Available at distributors

经销商的可用性 VNH5180ATR-E

代理商名称
地区 库存 最小订购量 第三方链接

代理商库存报告日期:

无法联系到经销商,请联系我们的销售办事处
VNH5180A-E
Available at distributors

经销商的可用性 VNH5180A-E

代理商名称
地区 库存 最小订购量 第三方链接

代理商库存报告日期:

无法联系到经销商,请联系我们的销售办事处

VNH5180ATR-E NRND

Budgetary Price (US$)*/Qty:
-
包:
包装类型:
RoHS:
Country of Origin:
ECCN (US):
ECCN (EU):

产品型号:

VNH5180ATR-E

代理商名称

代理商库存报告日期:

VNH5180A-E 批量生产

Budgetary Price (US$)*/Qty:
-
包:
包装类型:
RoHS:
Country of Origin:
ECCN (US):
ECCN (EU):

产品型号:

VNH5180A-E

代理商名称

代理商库存报告日期:

Swipe or click the button to explore more details Don't show this again

(*) 建议转售单价(美元)仅用于预算用途。如需以当地货币计价的报价,请联系您当地的 ST销售办事处 或我们的 经销商