VND810SP
Obsolete
Design Win
Double-channel high-side driver

Download datasheet

Product overview

描述

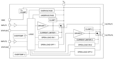
The VND810SP is a monolithic device designed using| STMicroelectronics™ VIPower™ M0-3 Technology. The VND810SP is intended for driving any type of multiple load with one side connected to ground.

The Active VCCpin voltage clamp protects the device against low energy spikes (see ISO7637 transient compatibility table). Active current limitation combined with thermal shutdown and automatic restart protects the device against overload.

The device detects the open-load condition in both the on-state and off-state. In the off-state the device detects if the output is shorted to VCC. The device automatically turns off in the case where the ground pin becomes disconnected.

  • All features

    • Very low standby current
    • CMOS compatible input
    • On-state open-load detection
    • Off-state open-load detection
    • Thermal shutdown protection and diagnosis
    • Undervoltage shutdown
    • Overvoltage clamp
    • Output stuck to VCCdetection
    • Load current limitation
    • Reverse battery protection
    • Electrostatic discharge protection

电路原理图

EDA Symbols, Footprints and 3D Models

STMicroelectronics - VND810SP

Speed up your design by downloading all the EDA symbols, footprints and 3D models for your application. You have access to a large number of CAD formats to fit with your design toolchain.

Please select one model supplier :

Symbols

Symbols

Footprints

Footprints

3D model

3D models