Loading spinner

VND5050J-E

批量生产
Design Win

支持模拟电流感应的双通道高侧驱动器

下载数据手册 Order Direct

产品概述

描述

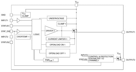
The VND5050K-E and VND5050J-E are monolithic devices made using STMicroelectronics VIPower M0-5 technology.

they are intended for driving resistive or inductive loads with one side connected to ground. Active VCC pin voltage clamp protects the devices against low energy spikes (see ISO7637 transient compatibility table). The devices detect open load condition both in on and off state, when STAT_DIS is left open or driven low. Output shorted to VCC is detected in the off state. When STAT_DIS is driven high, STATUS pin is in high impedance state. Output current limitation protects the devices in overload condition. In case of long overload duration, the devices limit the dissipated power to a safe level up to thermal shut-down intervention. Thermal shut-down with automatic restart allows the devices to recover normal operation as soon as fault conditions disappear.

  • 所有功能

    • MainInrush current active management by power limitationVery low stand-by current3.0V CMOS compatible inputOptimized electromagnetic emissionVery low electromagnetic susceptibilityIn compliance with the 2002/95/EC European directive
    • ProtectionsUndervoltage shut-downOvervoltage clampOutput stuck to VCC detectionLoad current limitationSelf limiting of fast thermal transientsProtection against loss of ground and loss of VCCThermal shut downReverse battery protectionElectrostatic discharge protection
    • Diagnostic functionsOpen drain status outputOn state open load detectionOff state open load detectionThermal shutdown indication

电路原理图

EDA符号、封装和3D模型

意法半导体 - VND5050J-E

Speed up your design by downloading all the EDA symbols, footprints and 3D models for your application. You have access to a large number of CAD formats to fit with your design toolchain.

Please select one model supplier :

Symbols

符号

Footprints

封装

3D model

3D模型

质量与可靠性

产品型号 Marketing Status 等级规格 符合RoHS级别 Longevity Commitment Longevity Starting Date 材料声明**
VND5050JTR-E
批量生产
PowerSSO 12 汽车应用 Ecopack2 (**) - -

VND5050JTR-E

Package:

PowerSSO 12

Material Declaration**:

PDF XML

Marketing Status

批量生产

Package

PowerSSO 12

Grade

Automotive

RoHS Compliance Grade

Ecopack2 (**)

(**) st.com上提供的材料声明表单可能是基于包装系列中最常用的封装的通用文档。因此,它们可能不是100%适用于特定的设备。有关特定设备的信息,请联系 销售支持

样片和购买

Loading...
Swipe or click the button to explore more details Don't show this again
产品型号
供货状态
Budgetary Price (US$)*/Qty
从ST订购
Order from distributors
包装类型
RoHS
Country of Origin
ECCN (US)
ECCN (EU)
VND5050JTR-E
Available at distributors

经销商的可用性 VND5050JTR-E

代理商名称
地区 库存 最小订购量 第三方链接

代理商库存报告日期:

无法联系到经销商,请联系我们的销售办事处

VND5050JTR-E 批量生产

Budgetary Price (US$)*/Qty:
-
包:
包装类型:
RoHS:
Country of Origin:
ECCN (US):
ECCN (EU):

产品型号:

VND5050JTR-E

代理商名称

代理商库存报告日期:

Swipe or click the button to explore more details Don't show this again

(*) 建议转售单价(美元)仅用于预算用途。如需以当地货币计价的报价,请联系您当地的 ST销售办事处 或我们的 经销商