VN920B5-E
Obsolete
Design Win
单通道高侧固态继电器

Download datasheet

Product overview

描述

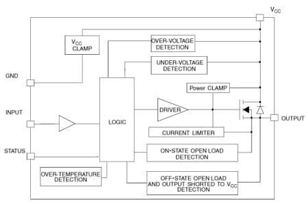
The VN920B5-E is a monolithic device designed in STMicroelectronics™ VIPower™ M0-3 technology. The VN920B5-E is intended for driving any type of load with one side connected to ground.

The active VCCpin voltage clamp protects the device against low energy spikes (see ISO7637 transient compatibility table).

Active current limitation combined with thermal shutdown and automatic restart protect the device against overload.

The device integrates an analog current sense output which delivers a current proportional to the load current. The device automatically turns off in the case where the ground pin becomes disconnected.

  • All features

    • ECOPACK®: lead free and RoHS compliant
    • Automotive Grade: compliance with AEC Guidelines
    • Very low standby current
    • CMOS compatible input
    • Proportional load current sense
    • Current sense disable
    • Thermal shutdown protection and diagnosis
    • Undervoltage shutdown
    • Overvoltage clamp
    • Load current limitation

电路原理图

EDA Symbols, Footprints and 3D Models

STMicroelectronics - VN920B5-E

Speed up your design by downloading all the EDA symbols, footprints and 3D models for your application. You have access to a large number of CAD formats to fit with your design toolchain.

Please select one model supplier :

Symbols

Symbols

Footprints

Footprints

3D model

3D models