VN750-E

批量生产
Design Win

高侧驱动器

下载数据手册 Order Direct

产品概述

描述

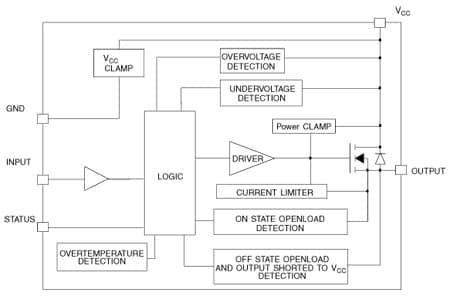
The VN750-E is a monolithic device designed in STMicroelectronics™ VIPower™ M0-3 technology intended for driving any kind of load with one side connected to ground.

Active VCC pin voltage clamp protects the device against low energy spikes (see ISO7637 transient compatibility table). Active current limitation combined with thermal shutdown and automatic restart help protect the device against overload.

The device detects open load condition in on-state and off-state. Output shorted to VCC is detected in the off-state. Device automatically turns off in case of ground pin disconnection.

  • 所有功能

    • ECOPACK®: lead free and RoHS compliant
    • Automotive Grade: compliance with AEC guidelines
    • CMOS compatible input
    • On-state open-load detection
    • Off-state open-load detection
    • Shorted load protection
    • Undervoltage and overvoltage shutdown
    • Protection against loss of ground
    • Very low standby current
    • Reverse battery protection

电路原理图

EDA符号、封装和3D模型

意法半导体 - VN750-E

Speed up your design by downloading all the EDA symbols, footprints and 3D models for your application. You have access to a large number of CAD formats to fit with your design toolchain.

Please select one model supplier :

Symbols

符号

Footprints

封装

3D model

3D模型

质量与可靠性

产品型号 Marketing Status 等级规格 符合RoHS级别 Longevity Commitment Longevity Starting Date 材料声明**
VN750B5TR-E
批量生产
P2PAK 汽车应用 Ecopack1 - -
VN750PTTR-E
批量生产
PPACK 5 汽车应用 Ecopack1 - -

VN750B5TR-E

Package:

P2PAK

Material Declaration**:

PDF XML

Marketing Status

批量生产

Package

P2PAK

Grade

Automotive

RoHS Compliance Grade

Ecopack1

VN750PTTR-E

Package:

PPACK 5

Material Declaration**:

PDF XML

Marketing Status

批量生产

Package

PPACK 5

Grade

Automotive

RoHS Compliance Grade

Ecopack1

(**) st.com上提供的材料声明表单可能是基于包装系列中最常用的封装的通用文档。因此,它们可能不是100%适用于特定的设备。有关特定设备的信息,请联系 销售支持

样片和购买

Loading...
Swipe or click the button to explore more details Don't show this again
产品型号
供货状态
Budgetary Price (US$)*/Qty
从ST订购
Order from distributors
包装类型
RoHS
Country of Origin
ECCN (US)
ECCN (EU)
VN750PTTR-E
Available at distributors

经销商的可用性 VN750PTTR-E

代理商名称
地区 库存 最小订购量 第三方链接

代理商库存报告日期:

无法联系到经销商,请联系我们的销售办事处
VN750B5TR-E
Available at distributors

经销商的可用性 VN750B5TR-E

代理商名称
地区 库存 最小订购量 第三方链接

代理商库存报告日期:

无法联系到经销商,请联系我们的销售办事处

VN750PTTR-E 批量生产

Budgetary Price (US$)*/Qty:
-
包:
包装类型:
RoHS:
Country of Origin:
ECCN (US):
ECCN (EU):

产品型号:

VN750PTTR-E

代理商名称

代理商库存报告日期:

VN750B5TR-E 批量生产

Budgetary Price (US$)*/Qty:
-
包:
包装类型:
RoHS:
Country of Origin:
ECCN (US):
ECCN (EU):

产品型号:

VN750B5TR-E

代理商名称

代理商库存报告日期:

Swipe or click the button to explore more details Don't show this again

(*) 建议转售单价(美元)仅用于预算用途。如需以当地货币计价的报价,请联系您当地的 ST销售办事处 或我们的 经销商