L99PM60J
Active
Design Win
具有LIN收发器的电源管理IC

Download datasheet

Product overview

描述

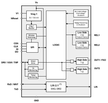
The L99PM60J is a power management system IC that features one low-drop regulator, a direct drive for high-side drivers, and a LIN 2.1 compliant SAE J2602 transceiver.

The integrated standard serial peripheral interface (SPI) controls all L99PM60J operation modes and provides driver diagnostic functions.

  • All features

    • One 5 V low-drop voltage regulators (100 mA, continuous mode)
    • No electrolytic capacitor required on regulator output (only 220 nF ceramic typ.)
    • Ultra-low quiescent current in VBAT-standby(7 μA) and V1-standby (45 μA)
    • Window watchdog and advanced fail-safe functionality
    • Configurable fail-safe output
    • Programmable reset threshold (4.6 V; 3.5 V)
    • VSmonitoring / temperature measurement
    • LIN 2.1 compliant (SAE J2602 compatible) transceiver
    • High-speed LIN Flash mode up to 100 Kbit/s
    • ST SPI interface for mode control and diagnostics
    • 2 high-side drivers, e.g. LED or HALL (RDSon,typ= 7 Ω)
    • 2 low-side drivers (RDSon,typ= 2 Ω)
    • Outputs are short-circuit protected
    • Direct drive feature for high sides
    • Temperature warning and thermal shutdown

电路原理图

EDA Symbols, Footprints and 3D Models

STMicroelectronics - L99PM60J

Speed up your design by downloading all the EDA symbols, footprints and 3D models for your application. You have access to a large number of CAD formats to fit with your design toolchain.

Please select one model supplier :

Symbols

Symbols

Footprints

Footprints

3D model

3D models

Quality and Reliability

Part Number Marketing Status Package Grade 符合RoHS级别 Longevity Commitment Longevity Starting Date Material Declaration**
L99PM60JTR
Active
PowerSSO 16 Automotive Ecopack1 (*) - -

L99PM60JTR

Package:

PowerSSO 16

Material Declaration**:

PDF XML

Marketing Status

Active

Package

PowerSSO 16

Grade

Automotive

RoHS Compliance Grade

Ecopack1 (*)

(**) st.com上提供的材料声明表单可能是基于包装系列中最常用的封装的通用文档。因此,它们可能不是100%适用于特定的设备。有关特定设备的信息,请联系 销售支持

Sample & Buy

Loading...
Part Number
供货状态
Budgetary Price (US$)*/Qty
从ST订购
Order from distributors
Package
Packing Type
RoHS
Country of Origin
ECCN (US)
ECCN (EU)
Operating temperature (°C)
最小值
最大值
L99PM60JTR

经销商的可用性 L99PM60JTR

代理商名称
地区 Stock 最小订购量 第三方链接

代理商库存报告日期:

无法联系到经销商,请联系我们的销售办事处

L99PM60JTR Active

Budgetary Price (US$)*/Qty:
-
Package:
Packing Type:
RoHS:
Country of Origin:
ECCN (US):
ECCN (EU):

Part Number:

L99PM60JTR

Operating Temperature (°C)

Min:

Max:

代理商名称

代理商库存报告日期:

(*) 建议转售单价(美元)仅用于预算用途。如需以当地货币计价的报价,请联系您当地的 ST销售办事处 或我们的 经销商